Automotive-SoCs Digitale Kombiinstrumente im Automobil schneller entwickelt
Skalierbare Designs können das ganze Spektrum vom einfachen Kombiinstrument für preisgünstige Fahrzeuge bis hin zu leistungsstarken rekonfigurierbaren 3D-Systemen für Luxusfahrzeuge abdecken.
Anbieter zum Thema

Für die Entwicklung von skalierbaren Plattformen für komplexe, grafikintensive Anwendungen bieten hochintegrierte SoC-Bausteine (System-on-Chip) effektive Lösungsmöglichkeiten an.
Werden diese SoCs mit Speicher-, Kommunikations- und anderen Peripheriefunktionen kombiniert, wie es in diesen Anwendungen üblich ist, so sind die Anforderungen an die richtige Spannungs- und Stromversorgung sowie an die Ein-/Ausschaltsequenz der einzelnen Komponenten sehr hoch.
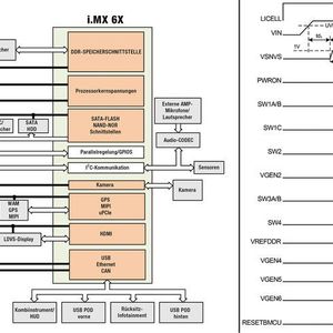
Durch die Kombination dieser Automobil-SoCs mit spezialisierten Energiemanagement-SoCs – wie dem MMPF0100 von NXP – wird die Entwicklung von skalierbaren Plattformen erheblich vereinfacht. Mit skalierbaren Designs kann das ganze Spektrum vom einfachen Kombiinstrument für preisgünstige Fahrzeuge bis hin zu leistungsstarken rekonfigurierbaren 3D-Systemen für Luxusfahrzeuge abgedeckt werden.
Fahrer erwarten auch im Auto das digitale, visuelle Erlebnis
Im Fahrzeug ist das Kombiinstrument im Armaturenbrett die wichtigste Informationsquelle des Fahrers für alle Fahrzeugfunktionen. Die Art und Weise, wie diese Informationen auf dem Armaturenbrett angezeigt werden, ändert sich jedoch in rasantem Tempo.
Denn die Verbraucher erwarten zunehmend auch im Fahrzeug das digitale, visuelle Erlebnis, dass sie von ihren Home-Entertainment-Systemen und ihren mobilen Geräten kennen. Darüber hinaus führt auch die schnelle Digitalisierung der Fahrzeugsysteme selbst zu einem sehr komplexen Informationsangebot für den Fahrer.
Daher haben sich die Automobilhersteller von den traditionellen analogen Anzeigen verabschiedet und setzen zunehmend detailreiche grafische Anzeigen ein. Im Rahmen dieser Entwicklung werden die Kombiinstrumente mit farbigen 2D- und 3D-Grafikbildschirmen ausgerüstet, die den Fahrer zuverlässig mit Informationen versorgen sollen, die aus verschiedenen Datenquellen bezogen werden.
Zugleich erwarten die Hersteller kostengünstige Lösungen für die digitalen Armaturenbretter, die immer mehr Anforderungen erfüllen müssen. Die Palette der Armaturenbretter reicht von einfachen Designs mit eingeschränkter Funktionalität in unteren Fahrzeugklassen bis hin zu hoch entwickelten individuell anpassbaren Displays in Fahrzeugen der Luxusklassen (Bild 1, siehe Bildergalerie).
Für diese Anforderungen geraten traditionelle Ansätze zur Gestaltung dieser komplexen Subsysteme zunehmend unter Druck. So bieten herkömmliche eingebettete Systemdesigns, die mit Universalprozessoren arbeiten, in der Regel nicht die erforderliche Grafikleistung an.
Zudem sind skalierbare Designs, die vom einfachen Instrument mit eingeschränkter Funktion auf ein individuell konfigurierbares Instrument aufgerüstet werden können, mit traditionellen Ansätzen kaum möglich. Zumindest erfordern diese Ansätze für ein solch inkrementelles Konzept wesentliche Veränderungen an der Hardware, um eine Basisversion auf High-End-Leistung zu trimmen.
Zwangsläufig führt eine solche Funktionserweiterung zu hochspezialisierten Produktdesigns mit sehr hohem Entwicklungsaufwand und zu inkompatiblen Codebasen.
(ID:44912200)