Die Rolle hochleistungsfähiger MEMS-Sensoren für smarte Fahrzeuge
Besondere Relevanz hat die MEMS-Technologie in der Automobilindustrie, da sie Kosteneinsparungen ermöglicht und die Fahrzeugausstattung verbessert. Künftig sollen MEMS-basierte Drucksensoren oswe Beschleunigungsmesser eine zentrale Rolle dabei spielen, die Sicherheit auf unseren Straßen zu verbessern und Autonomes Fahren auf eine neue Stufe zu heben. Ein Überblick
Anbieter zum Thema

MEMS-Technologie (Micro Electro-Mechanical Systems) stützt sich auf eine Kombination mechanischer Vorrichtungen, Sensoren und elektronischer Bauteile, die mittels modernster Mikrofertigungstechnologie auf Siliziumsubstrat angeordnet werden. Aktuell verdrängt die Technologie einen Großteil der Sensortechnik, die bisher in Autos zum Einsatz kam. Im Hinblick auf das Fahrzeugdesign bringt sie viele Vorteile: niedrigere Kosten, Langlebigkeit (dank robuster Bauweise), optimale Platzausnutzung (dank kompakter Größe) und mehr Leistungsfähigkeit im Betrieb.
Zusammenfassend können in Fahrzeugen verbaute MEMS-Sensoren in vier Kategorien eingeteilt werden:
- Beschleunigungsmesser und Gyroskope
- Fluss- und Drucksensorik
- Sensoren für On-Board-Anwendungen – beispielsweise Infrarotsensoren zur Einschätzung der Verkehrssituation, Sensoren zur Messung der Temperatur und Luftqualität im Fahrzeuginneren, Mikroscanner für Head-up Displays usw.
- HF-Sensoren für Radarsysteme

In Fahrzeugsystemen ermöglichen MEMS-Sensoren den Zugriff auf eine größere Anzahl von Schlüsselparametern des Fahrzeugbetriebs und ermöglichen neue Steuerungslösungen. Sie finden sich in Airbags, ABS (Antiblockiersystem) und ESP (elektronisches Stabilitätsprogramm) sowie elektronisch gesteuerten Federungen und zahlreichen Fahrerassistenzfunktionen.
In diesem Zusammenhang ist auch die weitaus größere Komplexität moderner Fahrzeuge zu erwähnen. Ursachen sind gestiegene Anforderungen an Sicherheitstechnik, die notwendige Verringerung von Benzinverbrauch und Emissionsausstoß sowie die Verbesserung des Fahrkomforts.

Beschleunigungsmesser und Gyroskope
Ein Beschleunigungssensor misst die Beschleunigung in Vielfachen der Erdbeschleunigung G. MEMS-Bauelemente zeichnen sich selbst bei Vorhandensein starker Störquellen durch eine hohe Genauigkeit aus. Einige Bauelemente nutzen den piezoelektrischen Effekt zur Ermittlung der vorhandenen G-Kräfte. Sie enthalten mikroskopisch kleine kristalline Strukturen, die durch Beschleunigungskräfte dazu veranlasst werden, Gleich- oder Wechselspannung abzugeben. In den meisten Fällen stehen den Entwicklern kapazitive oder thermisch-mikro-elektromechanische Beschleunigungssensoren zur Wahl. Um den richtigen Beschleunigungssensor für die jeweilige Anwendung auszuwählen, müssen mehrere wichtige Variablen berücksichtigt werden. Dazu gehören Sensorstruktur, Resonanz, Zuverlässigkeit, Stabilität, Bandbreite und Stromverbrauch.
Im Gegensatz zu Beschleunigungsmessern messen Gyroskopsensoren die Winkelgeschwindigkeit, und zwar in Grad pro Sekunde (°/s) oder Umdrehungen pro Sekunde (U/s). Die Winkelgeschwindigkeit ist prinzipiell ein Maß für die Drehzahl. Bei der Auswahl eines Gyroskops müssen die Zuverlässigkeit, der zulässige Temperaturbereich und die potenzielle Anfälligkeit gegenüber elektromagnetischen Störungen berücksichtigt werden. Der durch die Störquellen verursachte Fehler kann die Messgenauigkeit und damit den Aufbau des Systems beeinträchtigen.
Der in Airbags enthaltene Aufprallsensor zählt zu den bekanntesten Sensoren in Fahrzeugsystemen. Er besteht hauptsächlich aus MEMS-Trägheitssensoren (Beschleunigungsmesser und Gyroskope). Der Beschleunigungsmesser misst kontinuierlich die Beschleunigung des Fahrzeugs. Wenn dieser Parameter einen vorgegebenen Schwellenwert überschreitet, berechnet ein Mikrocontroller (MCU) das Integral der Beschleunigung, um festzustellen, ob eine beträchtliche Drehzahländerung vorliegt. Ein- oder zweiachsige Beschleunigungsmesser kommen häufig in Airbags zum Einsatz, alternativ auch Winkel-Beschleunigungssensoren.
Die 3-achsigen Beschleunigungsmesser AIS1120SX/AIS2120SX von STMicroelectronics zeichnen sich durch eine hohe Messauflösung und geringes Rauschen aus und verfügen über verschiedene Betriebsmodi zur Energieeinsparung sowie intelligente Funktionen wie eine Aufwachfunktion. Diese für hohe G-Kräfte ausgelegten Beschleunigungsmesser eignen sich für die präzise Auslösung von Airbags in Fahrzeugsicherheitssystemen und verfügen über einen vollen Signalamplitudenerfassungsbereich sowie einen erweiterten Betriebstemperaturbereich (Abbildung 2). Das Portfolio von STMicroelectronics umfasst auch 6-achsige iNEMO-Systeme mit Beschleunigungsmesser und Gyroskopsensor, die auf demselben Chip untergebracht sind.

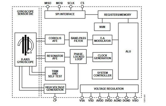
Das ADXRS910 ist ein MEMS-basiertes Gyroskop von Analog Devices, das zur Erkennung von Fahrzeugüberschlägen entwickelt wurde. Das Bauelement verfügt außerdem über einen internen Temperatursensor, der zur Kompensation von Offset und Empfindlichkeit verwendet wird und eine hohe Stabilität über den Temperaturbereich von -40 °C bis +105 °C bietet. Das Gyroskop umfasst einen kompletten Bereich von ±300°/Sek. und bietet die Möglichkeit, SPI-Kommunikation (bis zu 10 MHz) zum Lesen von Daten zu nutzen. Es ist in einem SOIC-Gehäuse erhältlich und für den Betrieb mit 3,3 V und 5 V ausgelegt, wobei weniger als 20 mA Strom entnommen werden (Abbildung 3).

Druck und Ultraschall
Ob Benzin, Motoröl, Kühlmittel oder Scheibenwaschwasser – Automobile sind auf eine Vielzahl verschiedener Flüssigkeiten angewiesen, deren Status und Verbrauch mittels nichtinvasiver, sicherer und zuverlässiger Methoden überwacht werden müssen. Der MEMS-Drucksensor MLX90819 von Melexis wird standardmäßig mit 5 V betrieben und kann den Flüssigkeitsdruckpegel in einer Vielzahl von Anwendungsfällen präzise bestimmen. Dazu zählen die Kontrolle von Motoröl, Getriebeöl und Benzinverbrauch, Kältemittel aus Klimaanlagen und Luftdruck in Bremssystemen von Schwerlastfahrzeugen (siehe Abbildung 4).
Hochfrequente Ultraschallwellen sind für das menschliche Ohr nicht wahrnehmbar. Bei der Füllstandsmessung schwimmt ein Element, das Ultraschall reflektiert, auf der Oberfläche der Flüssigkeit, während am Boden des jeweiligen Flüssigkeitsbehälters ein Wandler installiert wird, der kontinuierlich ein Signal aussendet. Der Füllstand kann somit anhand der Zeit gemessen werden, die die Schallwelle benötigt, um das Ziel zu erreichen, reflektiert zu werden und zum Ausgangspunkt zurückzukehren. Dieser Zeitraum wird durch die Verwendung des Begriffs Time-of-Flight (ToF) angegeben. Zur Verbesserung der Genauigkeit eines Ultraschallsensors wird in der Regel ein Temperatursensor eingesetzt, um die Geschwindigkeit der Ultraschallwellen bei Temperaturschwankungen genau berechnen zu können.
Darüber hinaus lässt sich mit Ultraschall auch eine genaue Messung der Geschwindigkeit einer Flüssigkeit durchführen. SoC-Lösungen für Fahrzeuge bieten als Alternative zu diskreten Lösungen ein integriertes analoges Frontend (AFE) mit einer Erkennungsgenauigkeit von 1 mm im Bereich von 10 mm bis 1 m. Das TDC1000 von Texas Instruments ist ein voll integriertes AFE zur Füllstandsmessung mittels Ultraschall, zur Flüssigkeits-/Konzentrationserkennung und für Näherungsanwendungen im Automobilmarkt. In Verbindung mit einer MCU kann so eine komplette Ultraschall-Detektionslösung bereitgestellt werden.

MEMS-Sensor unterstützt die Navigation bei schlechtem oder fehlendem GPS
Landmaschinen
Kombi-MEMS-Sensoren machen GPS genau genug für den Ackerbau
* Mark wechselte im Juli 2014 zu Mouser Electronics, nachdem er zuvor leitende Marketingfunktionen bei RS Components ausgeübt hatte. Vor seiner Tätigkeit bei RS war er acht Jahre bei Texas Instruments in den Bereichen Anwendungsunterstützung und technischer Vertrieb tätig.
(ID:46074491)